밀폐용기, 아무거나 샀다가 반찬 매일 버리게 돼요

쿠팡에서 '밀폐용기'를 검색하면 처음엔 쉬워 보여요. 반찬 담는 통 하나 사면 되는 거 아냐? 싶은데, 막상 화면을 열면 트라이탄, 비스프리, BPA FREE, 유리, 스텐, 진공형, 적층형, 모듈러… 1,500원짜리부터 3만 원짜리까지 한 화면에 죄다 섞여 있거든요. 혹시 지금 이런 상황 아닌가요?
🔴 밀폐용기를 샀는데 며칠 지나면 뚜껑에 김치 냄새가 배어서 아무리 씻어도 안 빠지고, 결국 다른 반찬 담을 때마다 찜찜하게 쓰고 있다.
🔴 냉장고에 밀폐용기를 넣어뒀더니 각기 다른 모양이라 쌓아둘 수가 없고, 꺼낼 때마다 와르르 쏟아져서 매번 짜증이 난다.
🔴 국물 있는 반찬을 담았다가 냉장고에서 꺼낼 때 살짝 기울어진 것만으로 국물이 새서 냉장고 선반을 다시 닦은 적이 한두 번이 아니다.
세 가지 중 하나라도 해당된다면, 밀폐용기를 잘못 골랐을 가능성이 높습니다. 이 글에서는 소재부터 밀폐 방식까지, 밀폐용기 고르는법 핵심만 짚어드릴게요.
저도 예전에 마트에서 한 세트에 3,900원짜리 밀폐용기 사서 김치 담았다가 두 달 만에 전부 버린 적 있어요. 뚜껑 패킹이 벌어지면서 냄새가 새기 시작하더니, 나중엔 통 자체에 김치 냄새가 아예 배어버렸거든요. 그때는 그냥 싸구려 제품이 문제라고 생각했는데, 알고 보니 소재가 달랐던 거였어요. 일반 PP 소재는 기름과 냄새를 흡수하는 특성이 있어서, 아무리 열심히 씻어도 배임이 사라지지 않습니다. 그 뒤로 트라이탄 소재를 찾아봤고, 지금은 같은 라인으로 통일해서 냉장고가 확 달라졌어요.
소재 하나가 냄새 배임과 환경호르몬을 결정합니다

밀폐용기 소재는 크게 일반 PP(폴리프로필렌), 트라이탄(PCT 소재), 유리, 스테인리스 이렇게 네 가지로 나뉩니다. 그런데 대부분은 그냥 가격만 보고 고르다가 나중에 냄새 배임이나 변색 문제로 후회하게 되거든요.
핵심을 먼저 말씀드리면, 일반 PP 소재는 기름 성분과 색소를 흡수하는 구조예요. 김치나 카레를 담고 나면 냄새가 배고 오렌지빛으로 착색됩니다. 1,000원짜리 저렴한 통이 여기 해당하고요. 반면 트라이탄(비스프리) 소재는 분자 구조 자체가 기름과 색소를 밀어내는 방향으로 설계돼 있어서, 김치를 담아도 세척 한 번으로 깔끔하게 됩니다.
유리 용기는 냄새 배임이 전혀 없고 안전성이 가장 높지만, 무거워서 다루다가 깨질 위험이 있어요. 스테인리스는 내구성은 좋지만 내용물 확인이 안 되고, 전자레인지를 못 씁니다. 결국 가성비와 실용성을 동시에 잡으려면 트라이탄 소재가 합리적인 선택이에요.
한 가지 더 체크하실 게 있어요. 제품 설명에 'BPA FREE'라고 쓰여 있어도 소재가 일반 PP라면 트라이탄과는 다릅니다. BPA FREE는 비스페놀A가 없다는 뜻이지, 소재 자체가 트라이탄이라는 뜻이 아니거든요. 제품 상세에 'PCT 소재' 또는 '트라이탄'이라고 명시된 걸 고르셔야 냄새 배임 문제가 없어요.
코멧 BPA FREE 클리어 밀폐용기는 몸체 소재가 PCT(트라이탄) 계열로, 이 조건을 충족하는 가성비 제품이에요. 리뷰가 2,977개에 평점 4.7점이라는 숫자가 그냥 나온 게 아닙니다.
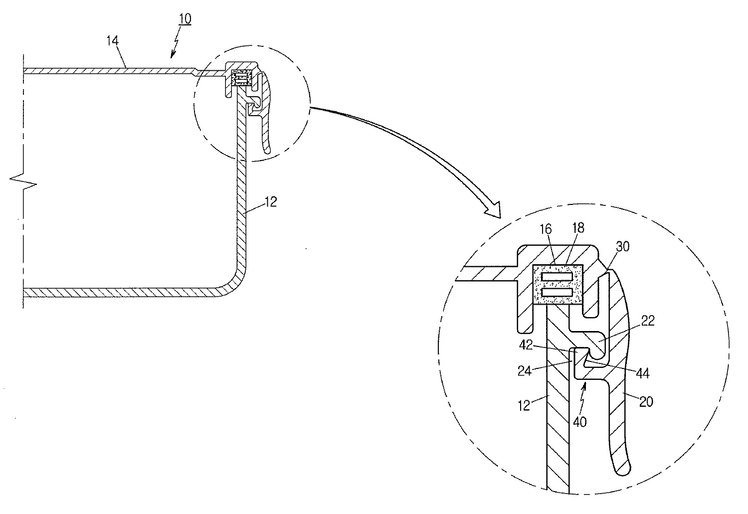
뚜껑 잠금 방식이 국물 샘을 결정합니다

밀폐용기를 고를 때 소재만큼 중요한 게 뚜껑 잠금 방식이에요. 시중에서 가장 많이 보이는 구조는 세 가지입니다. 누름형 단순 끼움, 사면 결착(4면 날개 방식), 원터치 버튼 잠금이 있어요.
단순 끼움 방식은 가장 저렴하고 열기도 쉽지만, 기울이거나 충격이 가해지면 뚜껑이 살짝 들릴 수 있어요. 국물 있는 반찬을 담아 냉장고에 넣었다가 냉장고 선반 위에서 새는 사고가 대부분 이 방식에서 생깁니다.
사면 결착 방식은 뚜껑 네 면에 잠금 날개가 달린 구조예요. 잠글 때 '딸깍' 소리가 나면서 실리콘 패킹이 전체적으로 눌리며 밀착됩니다. 물 넣고 뒤집어도 새지 않을 정도의 밀폐력이 나오는데, 락앤락이 이 방식으로 유명해진 거예요. 단점은 뚜껑 여닫는 데 손이 조금 더 가고, 패킹 세척이 번거로울 수 있어요.
원터치 버튼 방식은 한 손으로 간편하게 열리지만, 장기간 사용하면 버튼 탄성이 약해지면서 밀폐력이 떨어지는 경우가 있어요. 원터치 방식의 실제 수명이 사면 결착보다 짧은 이유가 이것 때문입니다.
가장 검증된 밀폐력은 사면 결착 + 실리콘 패킹 조합이에요. 코멧 BPA FREE 클리어 밀폐용기도 이 구조로 되어 있고, 그래서 리뷰에서 '국물 담아 기울여도 안 샌다'는 후기가 반복적으로 올라오는 겁니다.
용량과 형태를 틀리면 냉장고에 공간이 낭비됩니다

밀폐용기 형태는 원형, 정사각, 직사각으로 나뉘는데요. 냉장고 공간 효율만 놓고 보면 직사각이 가장 유리합니다. 원형 용기를 냉장고에 쭉 넣으면 용기 사이 삼각형 공간이 그냥 비어버리거든요. 냉장고 선반 한 칸에 원형 3개가 들어갈 자리에 직사각은 4개가 들어가요.
용량도 생각보다 중요해요. 600ml는 나물이나 볶음 반찬 하나 분량이고, 900~1,000ml는 국물 있는 찌개나 김치 한 번 분량이에요. 1.5L 이상은 대용량 식재료 보관이나 다음 날 밥상 전체를 한 통에 담을 때 씁니다. 무조건 큰 걸 사면 냉장고 공간 낭비가 심하고, 작은 걸 여러 개 사면 관리가 번거로워져요.
1~2인 가구라면 400~600ml 위주로 구성하고, 3인 이상 가구라면 600ml 4개 + 1,300ml 2개 구성이 현실적입니다. 용량이 섞인 혼합 세트를 사면 처음엔 편해 보이지만, 뚜껑 크기가 달라서 쌓아두기가 어려워지는 경우가 많아요.
코멧 BPA FREE 클리어 600ml 4개 세트는 1~2인 가구 반찬 보관의 딱 맞는 구성이에요. 같은 용량 4개로 냉장고를 채우면 쌓기도 편하고 정리 스트레스가 훨씬 줄어들거든요.
적층 구조와 총비용 계산이 마지막 기준입니다

밀폐용기를 많이 쓰다 보면 냉장고 공간 문제가 생겨요. 그래서 위로 쌓아야 하는데, 뚜껑 위에 그냥 올려놓으면 조금만 건드려도 와르르 쏟아집니다. 적층 구조가 있는 제품은 뚜껑 상단에 홈이 있어서, 다음 용기의 바닥이 거기에 걸려서 고정돼요. 냉장고 문을 열고 닫을 때 진동이 와도 쉽게 안 무너지는 게 이 구조 덕분입니다.
락앤락 비스프리 모듈러가 이 구조로 유명한데, 핵심은 '같은 제품끼리 쌓아야 안정적이다'라는 점이에요. 라인이 섞이면 홈이 맞지 않아 그냥 얹어놓는 것밖에 안 돼요. 코멧 BPA FREE 클리어 시리즈도 같은 라인끼리는 적층이 안정적으로 됩니다.
총비용을 한번 계산해볼게요. 1,000원짜리 일반 PP 용기를 사면 냄새 배임 때문에 6~12개월 안에 교체하는 경우가 많아요. 6개 사면 6,000원인데 1년에 두 번 사면 12,000원이에요. 코멧 BPA FREE 클리어 600ml 4개가 11,390원인데, 트라이탄 소재는 냄새·착색 문제가 없어 2~3년 써도 상태가 멀쩡합니다.
결국 좀 더 제대로 된 소재를 처음 한 번에 사는 게 장기적으론 훨씬 저렴해요. 아래 버튼으로 지금 가격을 한번 확인해보세요.
※ 로켓배송 · 재고 소진 시 가격 변동 가능
밀폐용기 고르는법 — 3종 직접 비교해봤어요

같은 '트라이탄 밀폐용기'라도 가격대·구성·용도가 다 달라요. 제가 직접 각 제품 특성을 따져봤습니다.
| 항목 | 코멧 BPA FREE 클리어 600ml 4개 |
락앤락 비스프리 모듈러 직사각 910ml 2개 |
코멧 BPA FREE 클리어 10조 세트 |
|---|---|---|---|
| 형태/타입 | 직사각 | 직사각 모듈러 | 혼합 (직사각 포함) |
| 핵심 소재 | PCT(트라이탄) + 실리콘 패킹 |
트라이탄(비스프리) + 항균 실리콘 패킹 |
트라이탄 + 실리콘 패킹 |
| 냄새·착색 내성 | 매우 우수 | 매우 우수 | 매우 우수 |
| 가격 | 11,390원 (4개) | 약 10,900원 (2개) | 약 23,310원 (10개) |
| 리뷰 수·평점 | 2,977개 / 4.7★ | 12,368개+ / 4.7★ | 9,586개 / 4.7★ |
| 주요 특징 | 국내 생산 / 동일 용량 4개 / 가성비 최고 | 6mm 히든캡 적층 / 정리감 탁월 / 재구매율 높음 | 다양한 용량 한 번에 / 처음 구성하기 좋음 |
| 전자레인지·냉동 | 가능 | 가능 | 가능 |
| 식기세척기 | 가능 | 가능 | 가능 |
| 추천 대상 | 1~2인 가구 반찬 보관 위주 |
냉장고 정리에 진심인 분 브랜드 신뢰 중시 |
가족 단위 처음 세팅 시작하는 분 |
📌 딱 3줄 구매 결론
💰 가성비로 지금 당장 시작하고 싶다면 → 코멧 BPA FREE 클리어 600ml 4개 (국내산 트라이탄, 리뷰 2,977개)
🔧 냉장고 정리까지 제대로 하고 싶다면 → 락앤락 비스프리 모듈러 910ml (6mm 히든캡 적층 구조, 리뷰 12,000개+)
⭐ 처음 한 번에 다양한 용량을 세팅하고 싶다면 → 코멧 클리어 10조 세트 (4가지 용량 혼합, 리뷰 9,586개)
실제로 쓴 분들은 뭐라고 했을까요

코멧 BPA FREE 클리어 밀폐용기(600ml)는 쿠팡 기준 2,977개 리뷰에 4.7점이에요. 숫자만으로도 충분히 검증된 제품이지만, 실제 리뷰 내용을 보면 반복적으로 등장하는 포인트가 있습니다.
한 구매자는 "김치 넣어도 냄새 안 배고, 씻으면 바로 깔끔해진다. 이전에 쓰던 하얀 PP 통이랑은 확실히 차이 난다"고 썼어요. 또 다른 분은 "직사각 형태라 냉장고 선반에 틈 없이 넣을 수 있고, 같은 제품 4개를 쌓아두니 냉장고가 확실히 넓어 보인다"는 후기를 남겼습니다.
락앤락 비스프리 모듈러(910ml)는 리뷰가 12,000개를 넘습니다. "냉장고 문 열고 닫을 때 흔들려도 쌓아둔 통이 무너지지 않는다", "뒤집어서 흔들기 테스트를 했는데 한 방울도 안 셌다"는 후기가 눈에 띄었어요. 재구매 후기가 꽤 많다는 것도 실사용 만족도를 보여주는 지점이에요.
두 제품 모두 공통으로 올라오는 불만 사항이 있어요. 패킹을 분리해서 세척하려면 뾰족한 도구가 필요할 만큼 꽉 끼어 있다는 점이에요. 밀폐력이 좋은 만큼 패킹이 단단히 고정된 구조인데, 이걸 단점이라고 볼지 장점이라고 볼지는 사람마다 다를 것 같아요.
※ 로켓배송 · 재고 소진 시 가격 변동 가능
밀폐용기 고르는법 — 오늘 바꾸지 않으면 반찬이 또 버려집니다
지금 쓰는 밀폐용기가 오래된 일반 PP 소재라면, 이미 내부에 기름 성분이 흡착돼 있을 가능성이 높아요. 아무리 세척해도 냄새가 남는 이유가 그것 때문이고, 그 통에 새 반찬을 담으면 냄새가 섞이면서 음식이 빨리 상하는 악순환이 생깁니다.
눈에 안 보인다고 괜찮은 게 아니에요. 트라이탄으로 바꾸는 게 귀찮아서 미루다 보면, 반찬 버리는 횟수는 계속 그대로고 재료비는 계속 낭비됩니다. 지금 11,000원짜리 결정 하나로 냉장고 환경 전체가 달라질 수 있어요.
코멧 BPA FREE 클리어 600ml 4개 기준 11,390원이에요. 트라이탄 소재라 냄새·착색 걱정 없이 2~3년은 거뜬히 쓸 수 있는 제품입니다. 아래에서 지금 가격을 한번 확인해보세요.
※ 로켓배송 · 재고 소진 시 가격 변동 가능
자주 묻는 질문
Q. 트라이탄이랑 BPA FREE는 같은 건가요?
다릅니다. BPA FREE는 비스페놀A가 없다는 안전 기준 표시고, 트라이탄은 그 기준을 충족하는 특정 소재 이름이에요. BPA FREE 표시가 있어도 소재가 일반 PP면 냄새 배임이 생길 수 있어요. 제품 상세에 'PCT', '트라이탄', '비스프리' 중 하나가 명시돼 있어야 합니다. 코멧 BPA FREE 클리어 시리즈는 몸체가 PCT 소재로 이 조건에 해당해요.
Q. 김치 담아도 정말 냄새가 안 배나요?
트라이탄 소재는 기름 성분과 색소를 흡수하지 않는 분자 구조라 착색과 냄새 배임이 거의 없어요. 물론 뚜껑 패킹 부분이나 모서리 홈에 오래 방치하면 냄새가 남을 수 있으니, 사용 후 빨리 세척하는 게 좋습니다. 실제 리뷰에서도 "오랫동안 김치 보관해도 씻으면 깔끔해진다"는 후기가 많이 올라와 있어요. 코멧 BPA FREE 클리어 밀폐용기가 이 성능을 갖추고 있고요.
Q. 전자레인지에 넣어도 괜찮은가요?
트라이탄 소재는 일정 온도까지 변형이 없지만, 코멧·락앤락 모두 '뚜껑을 열고 2분 이내 데우기 용도'로만 사용할 것을 권장하고 있어요. 뚜껑을 닫은 채 장시간 가열하면 내부 압력이 올라가면서 뚜껑이 튀거나 변형될 수 있거든요. 가열 용도라면 전자레인지 전용 뚜껑이 따로 있는 제품을 쓰는 게 더 안전합니다.
Q. 밀폐용기는 얼마나 자주 교체해야 하나요?
일반적으로 뚜껑 패킹이 늘어나거나, 잠금이 헐거워지거나, 몸체에 깊은 스크래치가 생기면 교체 시점이에요. 트라이탄 소재는 착색이나 냄새 배임으로 교체하는 일이 거의 없어서, 관리만 잘 하면 3년 이상 쓸 수 있습니다. 패킹만 단독 구매 가능한 제품이라면 패킹만 교체해서 훨씬 오래 쓸 수 있어요. 지금 쓰는 통 상태가 걱정된다면, 코멧 BPA FREE 클리어 제품부터 시작해보세요.
'리빙' 카테고리의 다른 글
| 식칼 잘못 사면 썰 때마다 힘 줘도 안 잘려요 (0) | 2026.03.29 |
|---|---|
| 수저통 잘못 사면 수저에서 매일 냄새 납니다 (0) | 2026.03.29 |
| 키친타올홀더 잘못 고르면 주방 공간 반 날립니다 (0) | 2026.03.29 |
| 토스터기 고르는법, 이거 모르면 빵 사고 나서 매일 후회해요 (0) | 2026.03.29 |
| 밀폐용기 소재 모르면 반찬 보관할 때마다 찝찝해요 (0) | 2026.03.29 |